Фото: 4shared
Перенесення особистості людини, згідно патенту, стане можливим навіть за допомогою хмарних сервісів
Компанія запатентувала технологію, яка може дозволити "скопіювати" особистість знаменитості або будь-якої обраної людини.
Каліфорнійський гігант Google запатентував технологію перенесення особистості реального людини в робота, пише Daily Mail.
Мова йде не про відтворення візуальної подібності, а про реальні звички, манери говорити і поведінку.
Google відзначив дудлом день народження видатної жінки-математика
"Робот може бути запрограмований, так щоб симулювати риси характеру і особистість реальної людини, наприклад, на основі користувача, коханої людини, знаменитості і так далі", - йдеться в патенті.
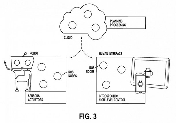
У якості "приймаючої сторони" особистості можуть бути використані як роботи з інтегрованим набором сенсорів, так і хмарні сервери і навіть мобільні гаджети.

Фото: USPTO
Також Google планує інтегрувати в систему футуристичний "конструктор особистості", який дозволить як створити збірний образ з різних закінчених образів, так і здійснити повноцінний збір на основі базової особистості.
Нагадаємо, раніше стартап Google показав гру з використанням доповненої реальності.